Кровли скатных крыш и совмещенные крыши
Кровли из глиняной черепицы чаще устраивают в западных и южных районах РФ. Такая кровля (см. схему ниже) внешне красива, долговечна, огнестойка и экономична в эксплуатации.

Кровля из глиняной черепицы
а - черепица пазовая штампованная; б - то же,
ленточная; в, г - соединение черепицы; д - общий вид кровли; е -
деталь конька; 1 - коньковая черепица; 2 - проушина; 3 - проволока;
4 - раствор; 5 - крюк для крепления стремянки; 6 - подкладка под
крюк; 7 - брусок.
К недостаткам следует отнести значительную массу и необходимость
устройства большого уклона, вследствие чего увеличивается ее площадь
и стоимость. Черепицу укладывают по обрешетке из брусков сечением
50х50 мм, располагаемых под стыками черепицы. Черепицу прикрепляют к
обрешетке проволокой, продетой в проушину шипа. Швы между уложенной
черепицей промазывают со стороны чердака сложным раствором.
Кровли из рулонных материалов подразделяют на рубероидные и толевые.
Они имеют малую массу, нетрудоемки и просты в исполнении, но
неогнестойки и требуют значительных эксплуатационных расходов. По
числу слоев различают одно-, двух- и трехслойные. Рулонные материалы
крепят к основанию на мастике или гвоздями.
Рубероидные кровли (см. схему ниже) укладывают по сплошному
деревянному или бетонному основанию. Деревянное основание под
рулонный ковер выполняют двуслойным из рабочего и защитного
настилов, обеспечивающих жесткость основания.

Рубероидная кровля по деревянному настилу
При уклоне не более 15 %: 1 - рабочий настил; 2 - защитный слой;
3 - рубероид; 4 - пергамин.
Толевые кровли (см. схему ниже) применяют для временных зданий и
вспомогательных построек. В однослойных толевых кровлях полотнища с
нахлесткой друг на друга на 60 мм укладывают параллельно коньку и
крепят к настилу дегтевыми мастиками или гвоздями.

Толевая однослойная кровля
Деревянные кровли выполняют из теса и дранки. Тесовую кровлю делают из теса толщиной 19 ... 25 мм. Доски укладывают внахлестку и набивают к стропилам параллельно коньку (см. схему ниже, поз. а). Более качественную и долговечную тесовую кровлю устраивают с укладкой досок по обрешетке. Доски укладывают сплошь или вразбежку с перекрытием швов нащельниками (см. схему ниже, поз. б, в).
Драночную кровлю (см. схему ниже, поз. г) выполняют из кровельного гонта (сосновых или еловых дощечек). Дощечки укладывают в несколько слоев по обрешетке из брусков или обтесанных жердей. Дощечки крепят гвоздями.

Деревянные кровли
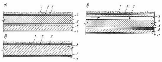
Совмещенные крыши представляют собой пологие бесчердачные покрытия. В них крыша совмещена с конструкцией чердачного перекрытия, и нижняя поверхность является потолком помещения верхнего этажа. Их устраивают из сборных железобетонных элементов. Стоимость совмещенных крыш на 10 ... 15 % ниже, а стоимость эксплуатации в 1,5 раза меньше стоимости эксплуатации скатных крыш с чердачным перекрытием. Принципиальные конструктивные схемы совмещенных крыш показаны на схеме ниже. Различают два основных вида совмещенных крыш:
1) вентилируемые через свободно проветриваемые сплошные воздушные прослойки ;
2) невентилируемые, монтируемые в заводских условиях из сплошных или многослойных панелей, герметизированных со всех сторон.

Схема совмещенных крыш
В гражданских зданиях рекомендуется применять вентилируемые совмещенные крыши. Они проветриваются главным образом через воздушные прослойки, щели или каналы, предусматриваемые в толще крыши. Воздушные прослойки снижают влагонакопление в теплоизоляции от водяных паров, проникающих из помещения, что повышает их термическое сопротивление, а также уменьшает влияние солнечной радиации на внутренний климат.
Невентилируемые крыши применяют в тех случаях, когда исключается накопление влаги в покрытии в период эксплуатации. Такие покрытия могут выполняться с теплоизоляцией, совмещенной с несущей конструкцией.
Основными элементами совмещенной крыши являются настил, утеплитель, пароизоляция и кровля. Настил устраивают из сборных :железобетонных крупноразмерных плит различного вида. Пароизоляционный слой в виде одного или двух слоев рубероида или пергамина на мастике предусматривают для защиты теплоизоляции от увлажнения водяными парами, проникающими со стороны внутренних помещений. В качестве утеплителей применяют плитные и сыпучие теплоизоляционные материалы. Поверх теплоизоляции делают выравнивающий слой (стяжку). По стяжке устраивают кровлю. Ее выполняют из рулонных кровельных материалов в несколько слоев. Наклеивают их на холодную или горячую мастику. Для защиты гидроизоляционного ковра от повреждений делают защитный слой в виде насыпок из песка или мелкозернистого гравия, втопленного в верхний слой мастики, или слоя бронированного рубероида.














